1 January, 2021

Hey everyone
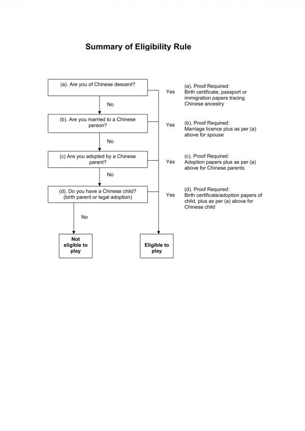
Easter is coming up in a couple of months which is super exciting! This morning you would have received an email regarding registrations. If you did not I have posted the 3 documents on the group page. You are more than welcome to send the documents to others who are wanting to play for OSCA this year. Applications need to be in by the 7th Feb… yeah we’re kinda slacking haha. So please get them done ASAP! Hope to see you all there!
Send them to rchoie88@gmail.com once done!
OSCA Membership 1st January 2021to 31st December 2021 4OSCA Membership 1st January 2021to 31st December 2021 3OSCA EASTER 2021Auckland REGISTRATION FORM 7OSCA EASTER 2021Auckland REGISTRATION FORM 8OSCA EASTER 2021Auckland REGISTRATION FORM 6OSCA EASTER 2021Auckland REGISTRATION FORM 9OSCA EASTER 2021Auckland REGISTRATION FORM 10Eligibility form 2021 3Eligibility form 2021 4